- ما المميز في تصميم المكابس البيضاوية لفيراري؟
- أذرع التوصيل المترابطة: ثورة في تصميم المحركات؟
- ماذا يعني ذلك لمستقبل فيراري؟
- هل هذا أول استخدام لمكابس بيضاوية؟
بينما يتجه العديد من شركات السيارات نحو الكهرباء، لا تزال فيراري تبحث عن طرق لإعادة ابتكار محركات الاحتراق الداخلي. أحدث دليل على ذلك هو براءة اختراع جديدة قدمتها الشركة لمحرك V12 يستخدم مكابس بيضاوية الشكل وتصميمًا غير تقليدي لأذرع التوصيل، مما قد يسمح بدمج تقنية الهجينة دون زيادة كبيرة في حجم المحرك.
ما المميز في تصميم المكابس البيضاوية لفيراري؟

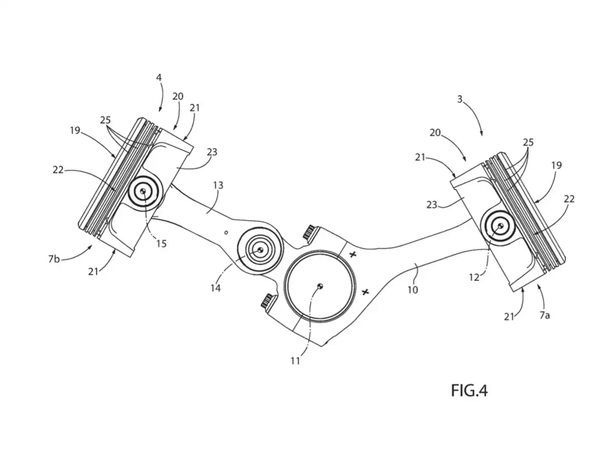
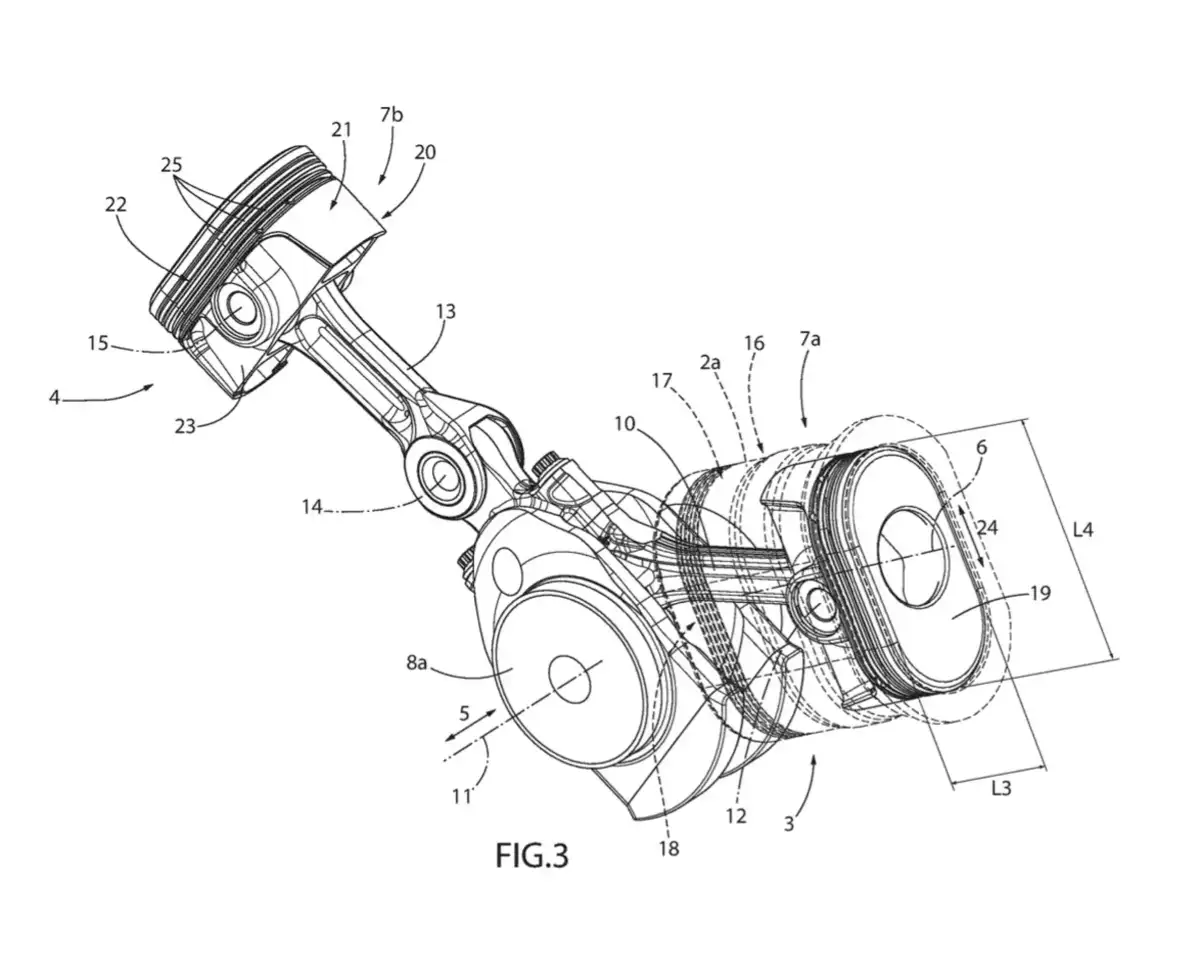
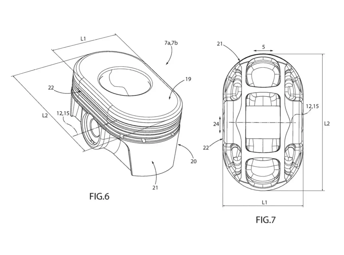
تم الكشف عن البراءة عبر AutoGuide، وتُظهر محركًا يستخدم مكابس بتصميم "الاستاد الرياضي"، حيث تجمع بين الشكل المستطيل والجوانب الدائرية، مما يشبه تصميم حلبة سباق ناسكار.
الهدف الأساسي لهذا التصميم هو تصغير حجم المحرك، حيث يتم وضع المحاور الطويلة للمكابس من الجدار الخارجي للأسطوانة باتجاه وسط المحرك، مما قد يساعد في تقليل الطول الكلي لمحركات V12. هذه الميزة قد تكون مفيدة لدمج الأنظمة الهجينة دون زيادة كبيرة في الحجم، إضافةً إلى إمكانية تحسين أداء الصمامات وعددها لكل مكبس.
أذرع التوصيل المترابطة: ثورة في تصميم المحركات؟

إلى جانب المكابس البيضاوية، تقدم براءة اختراع فيراري أيضًا آلية جديدة لأذرع التوصيل. بدلاً من التصميم التقليدي حيث يكون لكل مكبس ذراع توصيل منفصل متصل بعمود الكرنك، يستخدم هذا النظام أذرعًا مترابطة، حيث يعمل غطاء المحمل لأحد الأذرع كأساس لذراع المكبس المقابل.
هذا التصميم قد يساهم في تقليل الوزن، وتحسين كفاءة استهلاك الوقود، وتحقيق توازن ميكانيكي أفضل، مما يجعل محرك V12 أكثر توافقًا مع المعايير البيئية المستقبلية دون التضحية بالقوة والأداء.
ماذا يعني ذلك لمستقبل فيراري؟

تشير البراءة إلى أن فيراري تبحث عن طرق للاحتفاظ بمحركاتها الأسطورية V12 مع التكيف مع متطلبات العصر. كان تقديم F80 بمحرك V6 خطوة لم تعجب جميع عشاق العلامة، فهل يمكن أن يكون هذا التصميم هو الحل لمحرك V12 هجين أكثر كفاءة؟
من المحتمل أيضًا أن يتم استخدام هذا التصميم في السيارات ذات المحركات الأمامية مثل بوروسانجوي و12Cilindri، وكلاهما يفتقر حاليًا إلى المحركات الهجينة ولكن من المتوقع أن يحتاجا إليها مستقبلًا.
هل هذا أول استخدام لمكابس بيضاوية؟

لم تكن فيراري أول شركة تفكر في استخدام مكابس بيضاوية. في السبعينيات، طوّرت هوندا محرك V4 بدراجتها النارية NR500 باستخدام مكابس بيضاوية للسماح بثمانية صمامات لكل أسطوانة. ومع ذلك، عانت من مشاكل في إحكام الحلقات المطاطية للمكابس، مما حدّ من نجاحها.
لكن نهج فيراري الجديد، باستخدام زاوية مختلفة وأذرع توصيل مترابطة، قد يكون الحل لتجاوز تلك المشاكل وتحقيق تحسينات كبيرة في الأداء والكفاءة.
رغم أن هذه الفكرة لا تزال مجرد براءة اختراع وليست إعلانًا رسميًا عن محرك قيد الإنتاج، فإنها تؤكد أن فيراري ملتزمة بتطوير محركات الاحتراق الداخلي، مما يضمن استمرار إرث محركات V12 الأسطورية في عصر التقنيات الهجينة.


